検出スイッチ CF-DA
検出スイッチ
- 高接触信頼性
接触部に摺動接触によるセルフクリーニング機構を採用 - ロングストローク
全ストローク=7.5mm
ON, OFFが広いため確実な検知が可能 - パネルにスナップイン取付方式
- コネクタ取付対応端子
端子部にはワンタッチコネクタ採用、配線作業軽減に寄与
◆内部構造図

型式一覧表
| 型式 | スイッチ特性 | 極数 | 端子形状 | 接点材質 | 梱包形態 | CAD |
|---|---|---|---|---|---|---|
| CF-DA-1CN-1 | OFF-(ON) | 1極 | コネクタ | 銀接点 | ポリ袋 |
標準仕様
| 定格 | 最大:DC30V 100mA (抵抗負荷) 最小:DC20mV 0.5mA (抵抗負荷) |
|---|---|
| 耐電圧 | AC500V 1分間 |
| 初期接触抵抗 | 100mΩ以下(AC200μV 1.5mA) |
| 初期絶縁抵抗 | 100MΩ以上(DC500V) |
| 電気的寿命 | 100,000回 |
| 作動力 | 1.96~3.92N |
| ストローク | 7.5 ±0.3mm |
| 使用温度範囲 | -25~+85℃ |
| 適合コネクタ | 日本圧着端子製造㈱製 XAP-02V-1 |
スイッチ特性

外形寸法図

パネル抜き孔図

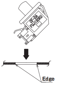
パネル取付時の取扱注意事項
パネル抜孔部裏面角部は、エッジとなるよう加工してください。

環境関連書類
- ●本掲載内容は、予告なく変更する場合がありますので、予めご了承ください。





